
伊良部大橋
平成26年度 土木学会田中賞(作品部門)受賞
伊良部島は、沖縄本島から南西方に約310キロ離れた宮古島の北西に位置します。伊良部島と宮古島間は、定期船での往来が可能でしたが、悪天候による欠航や、夜間や早朝の緊急医療の対応、教育、福祉など様々な離島特有の問題を抱えていました。昭和49年(1974年)、伊良部村が宮古島と安全に行き来出来る架設要請を始め、41年の歳月が過ぎた平成27年(2015年)1月31日、伊良部大橋の開通式を迎えました。
亜熱帯地域の宮古地方、爽快な空と海の青さはすばらしく、美しい光景です。しかし、橋にとっては、灼熱の太陽が照りつけ、塩分を含む熱風に曝される厳しい環境にあります。また、台風が強い勢力のまま通過することが多く、風速もその頻度も非常に高い地域となっており、伊良部大橋主航路部の設計基準風速はU33=82.2m/2に設定しています。このような厳しい塩害・強風環境の中でも 、100 年間の耐久性を確保するため、当社は株式会社中央建設コンサルタントとのJVで主航路部の詳細設計を、また、全線に対する景観デザインを担当しました。
橋梁形式
本橋の主航路部は、当初、アーチリブが上方に開き、アーチリブ同士が上方で横につながれていない中路式の鋼アーチ橋で計画されていました。暴風によりアーチリブが大きく揺れ、繰り返し揺れることで起こる疲労損傷や損傷後の補修が困難になることから、100年間の耐久性に問題があることがわかり、橋梁形式の見直しが行われました。橋梁形式の見直しは、耐風対策や塩害対策を考慮した維持管理費の縮減から、飛来塩分の付着量を減らし塗装の塗替えを軽減できる、表面積が少ない8角形の単箱桁断面の鋼床版箱桁橋に決定しました。


耐風設計

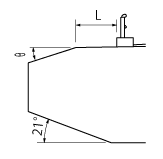
本橋の耐風設計では、エッジ断面の上面傾斜角θと平場長Lが異なる6ケースを用意し、たわみ渦励振(限定振動:照査風速82.2m/s)とフラッター(発散振動:照査風速108.5m/s)に着目して縮尺1/64の2次元模型風洞試験を実施しました。その結果、上面傾斜角θ=18°,L=1.399m(実長)とする断面形状が、渦励振を抑制する耐風安定性上最も優位な断面であることがわかりました。フラッターはいずれの断面も発生しませんでした。
伊良部大橋は、海上面から路面までの高さが非常に高いため、自転車に乗った人や通行等による海への転落事故を防ぐために、車両防護柵支柱に手摺を25cm嵩上げしました。その影響についても縮尺1/20の2次元模型風洞試験により確認しました。縮尺1/64より模型精度の高い縮尺1/20の風洞試験でも、渦励振は発生しませんでした。

架設時では、地覆・車両防護柵を設置しない断面で2次元模型風洞試験(照査風速59m/s)を実施しました。その結果、許容振幅をはるかに超えるたわみ渦励振が発生することがわかりました。そこで、完成時断面と同じ空力特性とする(地覆・車両防護柵を架設時から設置)ことで渦励振を抑制しました。
耐久性設計
厳しい塩害環境の中で100年間の耐久性を確保するため、伊良部大橋主航路部の防食には現時点で最も耐食性が期待できる「アルミニウム・マグネシウム合金(Al95%-Mg5%)溶射」を採用しました。国内での実績はこの橋梁規模では初めてで、安定した品質の確保が容易ではないことが懸念されたことから、塗装防食便覧におけるC-5塗装系との組合せで重防食塗装として使用することにしました。アルミニウム・マグネシウム合金溶射は、犠牲防食により鋼材を保護するもので、耐磨耗性に優れ自己修復機能を有している特徴があり、北海油田など海洋構造物の防食用として海外で実績のある防食法です。
構造詳細の配慮は、桁外面には塩分付着をさせないように突起物を最小限としました。また、現場塗装が必要となる現場継手部を極力減らために箱桁の大ブロック化を図りました。本橋には断面中央に農水管等が添架されており、桁の端部は複雑な部材が入り組んでいるため、桁内へ塩分の流入を防ぐために、桁端部に蓋をしました。

排水装置は、桁を貫通させた排水管を設置するのが一般的ですが、主航路部では防食塗装が困難な排水装置取り付け金具を必要とせず、路面に降った雨水は鋼製地覆の開口から外へ直接排出する案を計画しました。排出には汚れが目立ないように鋼製樋も考えましたが、汚れそのものはあっても目立たず、逆に橋に付着した塩分を雨水によって多少なりとも洗い流すことに期待できるというメリットの方が大きいことから、主桁の張出し部上面から側面、下面と流れ、支承付近に設置した水切りによって海上に流すことにしました。
景観設計
耐風安定上決定される主桁一般部の断面形状を変えることなく、桁高が変化する中間支点部に着目して、桁形状と橋脚形状をデザインしました。対象の主航路部は陸上からは2km以上離れているため細部形態を見ることはできませんが、橋の下を通過する船舶などの視点が存在します。この見え方から、「控えめで正調(規則正しい)な形態」が景観上望ましいと判断し、主桁の中間支点部は桁高変化が際立つA案を採用し、下部工については直線要素で造形される直線バチ案としました。
主航路部の桁色は海の色が映り青みがかかって見えますが、マンセル値N7.5(明るい灰色)の無彩色が採用されています。


宮古島側の親柱は、島を代表する英雄「久松五勇士※」をモチーフにできないかとの要請を受け、5枚の壁が海を守るように囲む形をイメージしたデザインとしています。伊良部島側の親柱は、サシバをイメージしたデザインとなっています。
- ※久松五勇士
日露戦争の日本海海戦の直前、ロシアバルチック艦隊の到来を本土に伝えるため、170㎞の距離を15時間かけてサバニを濃ぎ、決死の思いで石垣島に渡った5人の勇士。宮古島や石垣島では郷土の英雄とされています。
上部工架設計画
主航路部の上部工の架設計画は、珊瑚へ影響なく品質を確保するため、主桁を3つの大ブロックに分割し3000t吊級のクレーン船で架設する計画としました。(実際は4000t吊のクレーン船)中央径間部の大ブロック桁を最後に落とし込むには、吊っている桁と架設済みの桁とが衝突しないように隙間をあける必要があります。予め伊良部島側の側径間桁を250mm伊良部島側へずらして架設し、中央径間架設完了後に伊良部島の桁をもとの位置にもどす架設としています。それを可能とするには大ブロック架設に設置したセッティングビーム(FC架設後に仮受けする桁)もスライドできるようにしています。また、セッティングビームに移動足場(架設後、継手位置に移動する足場)を載せ、継手部の溶接、溶射、塗装ができるように工夫しました。



架設時期は波が比較的穏やかで、台風が通過しない3月下旬から5月までの時期としました。施工条件により大ブロックの地組立は宮古島周辺の港での組立でしたが、実際の施工では、製作工場で大ブロック地組立となり、海上輸送は動揺の危険を防ぐために計測しながら運搬されています。2012年4月28日に伊良部島側、5月16日に宮古島側の側径間が架設され、中央径間は天候不順で延期を余儀なくされ、翌年2013年4月に架設を完了しています。

実橋計測・試験結果からの考察
本橋は、風観測結果や載荷試験等がなされ、その結果については別途報告がなされております。その報告では設計で設定した数値は妥当であったという報告がなされております。
その中の構造減衰(対数減衰率)に着目して考察します。
橋を設計する時点では実際の橋の構造減衰は不明ですので、既往の橋を調査して推定した道路橋耐風設計便覧の推定式を用います。本橋は、分類として「けた橋」で、「ゴム支承の場合」の推定式(0.35/√L,L:最大支間長180m)で計算しますと0.026という値になります。本橋は桁の外面はボルト継手がなく、例のない桁断面形状でしたので、推定式より低いのではと懸念されました。そのため、構造減衰を0.02と低めに設定して検討を行いました。今回の載荷試験結果は平均0.029でしたので、耐風安定性上は揺れを止める力が設計推定値より大きく安全側にあります。また、本橋の場合でも便覧の推定式を用いてよいことがわかりました。
こうして完成した橋は、本橋のために設置された数々の委員会、設計・施工に携わった多くの方々、事業主である沖縄県の成果です。主航路部の詳細設計、および全線にわたる景観デザインの担当として、約10年間本事業に携わることができたことは誠に光栄であり、今後とも市民とともに見守り続けていきたいと思います。
| 橋名 | 伊良部大橋(主航路部) |
|---|---|
| 所在地 | 沖縄県宮古市平良字久貝~伊良部字池間添地先 |
| 事業主 | 沖縄県宮古土木事務所 |
| 橋長 | 420m |
| 支間長 | 119+180+119m |
| 構造形式 | 3径間連続鋼床版箱桁橋 |
| 工期 | 詳細設計 平成21年2月~平成22年3月 |
お問い合わせ先
技術やサービスについてのご質問は、下記の総合お問い合わせ窓口で承っております。お気軽にご相談ください。